特許 健康、医療、福祉 目標3.すべての人に健康と福祉を目標12.つくる責任つかう責任 人間健康科学研究科
減菌状態を保ったままチューブ等を挿通できる在宅医療用Yカットガーゼ
掲載日:
Y字ガーゼ、スリットガーゼ、気管切開、胃ろう、カテーテル、カニューレ
どんなシーズなの?
気管切開や胃ろうなどで処置されるYカットガーゼ(以下「Yガーゼ」という。)は、通常、外袋に減菌状態で密閉されて販売されています。Yガーゼを使用する際には、外袋から取り出し、Y字型の切れ込みを開け広げながらチューブ等を通して、創傷面にあてがいます。このような作業は、医療施設では除菌処理等が施されたピンセットや手袋を用いて行われますが、一般家庭では医療的には清潔とは言えない素手で行われるのが一般的です。
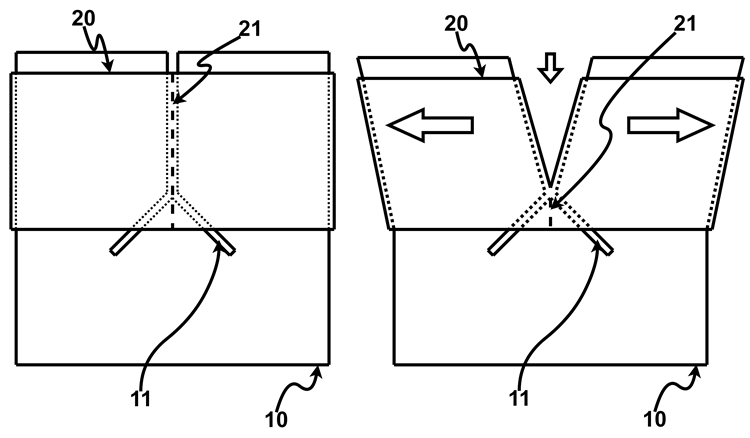
本発明の一例では、左図及び右図に示すように、Yガーゼ10を取り囲むようにフィルム20を設けています。フィルム20には、切れ込み11に沿ったミシン目21が設けられているため、フィルム20とともにYガーゼ10をつまんで、切れ込み11を左右に開け広げると、フィルム20が簡単に切り離せるようになっています。これにより、Yガーゼ10に直接触れることなく、その切れ込み11を開け広げて、チューブ等を通すことができます。このため、一般家庭でも清潔にYガーゼ10を取り扱うことができます。

本発明の他の例では、下の図に示すように、Yガーゼ10を包装する外袋30に、切れ込み11に沿って開封しやすくするためのノッチ31を設けています。外袋30とともにYガーゼ10をつまんで、ノッチ31の案内に従って外袋30を開封する(左右に開け広げる)と、Yガーゼ10に触れることなく、切れ込み11を開け広げることができます。ノッチ31の案内方向に、外袋30を裂けやすくするための肉薄部32を形成しておくことも可能です。

こんなことに使える!
成熟市場において他社との差異化を図るため、本発明を利用して新製品を開発してみませんか?今なら(2025年12月現在)、貴社のみの独占実施が可能です!
皆様からのお問い合わせをお待ちしております!
研究者
-
野村 亜由美 准教授
- 人間健康科学研究科
発明の名称
ガーゼ組品
番号
特願2025-230736